拼豆计时系统开源免费版下载
Mozilla开发者获得了Web 2.0 Security and Privacy 2015会议的最佳论文奖,他们的论文(PDF) 介绍了Firefox的跟踪保护技术。跟踪保护技术是一项新的隐私保护技术,通过屏蔽请求和跟踪域名去弱化侵入式的在线用户行为跟踪。Mozilla开发 者称,跟踪保护技术减少了Alexa Top 200新闻网站67.5%的HTTP cookies数量。
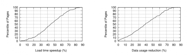
由于Firefox没有从跟踪域名下载和渲染内容,跟踪保护技术将Alexa Top 200新闻网站的页面加载时间减少了44%,数据流量减少了39%。Mozilla 从Firefox 35开始引入跟踪保护技术,但默认没有启用,要启用这项功能需要在地址栏输入about:config,然后将 privacy.trackingprotection.enabled设为true,当跟踪保护屏蔽了某些元素,用户会在地址栏左侧看到盾牌图标。






